- Inicio
- Generador estático de reactiva
Generador estático de reactiva
Generador VAR estático (SVG) de 13.8kV/15Mvar para la Planta Siderúrgica Deacero Saltillo
Requerimientos del cliente
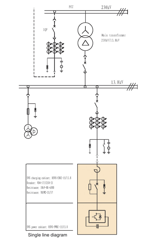
La planta siderúrgica Deacero Saltillo, ubicada en la ciudad de Saltillo, al norte de México, cuenta con un dispositivo STATCOM instalado en su subestación. Este sistema comenzó a funcionar el 8 de diciembre del 2020. El proyecto incorpora un STATCOM en contenedores (modelo RSVG-15-13.8-TWOY).
- Objetivos de control: alcanzar un factor de potencia de ≥0.97 (con inductancia parcial).
- Requisitos de armónicos: el sistema cumple con las normas nacionales de México, conforme a la IEEE 519-2014.
Solución ofrecida por RXPE
- Condición de carga
El tren de laminación de alambre es la carga principal de la planta siderúrgica Deacero en México. La carga reactiva máxima alcanza aproximadamente 11 Mvar, mientras que el armónico predominante es el 5°, con una corriente armónica máxima de aproximadamente 100 A. El punto de control PCC (Punto de Acoplamiento Común) se ubica en el lado de 220 kV, desde donde se suministra energía a la planta mediante un transformador principal de 220 kV/13.8 kV. - Plan de compensación
El dispositivo STATCOM tiene una estructura en cascada conectada directamente a la barra colectora de 13.8 kV. Sus objetivos de control incluyen la corrección del factor de potencia y la reducción de armónicos.
El punto de evaluación en el lugar está en un extremo remoto y no es posible recolectar señales remotas de voltaje y corriente, la compensación de potencia reactiva se realiza al ajustar los coeficientes de ganancia y compensación. Los armónicos, por su parte, se compensan de forma dinámica en el lugar.
Ventajas para el cliente
Condiciones de la potencia en el lugar y factor de potencia compensado
Comparación de las formas de onda de voltaje y corriente del lado de la red antes y después de la compensación.
Espectro de corriente del lado de la red antes y después de la compensación
Consulta









